+91-1762-231491, 231334
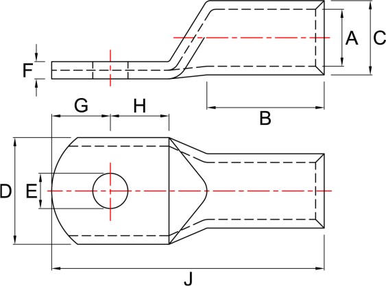
Compression Type Aluminium Terminal Ends
For Crimping to Aluminium Conductors
|
Dimensions in mm |
||||||||||
|
Cable Size mm2 |
Stud Hole Size |
Barrel ID |
Barrel OD |
Palm Width |
Palm Thickness |
Barrel Length |
Stud Center Distance from Bend |
Stud Center Distance From Top |
Total Length |
ASCON CAT. NO. |
|
E |
A |
C |
D |
F |
B |
H |
G |
J |
||
|
2.5 |
3.2 |
2.0 |
5.5 |
6.7 |
3.5 |
7 |
4 |
4 |
18 |
AALS-151 |
|
3.7 |
2.6 |
5.5 |
7.0 |
2.9 |
7 |
4 |
4 |
18 |
AALS-309 |
|
|
4 |
4.2 |
2.9 |
5.5 |
7.2 |
2.6 |
7 |
4 |
4 |
18 |
AALS-155 |
|
5.2 |
2.9 |
5.5 |
12.0 |
1.2 |
7 |
7 |
6 |
24 |
AALS-317 |
|
|
6 |
5.2 |
3.5 |
5.5 |
7.5 |
2.0 |
7 |
7 |
6 |
24 |
AALS-158 |
|
6.4 |
3.5 |
5.5 |
12.0 |
1.2 |
7 |
7 |
6 |
24 |
AALS-313 |
|
|
10 |
4.2 |
3.8 |
6.2 |
8.4 |
2.4 |
7 |
9 |
8 |
28 |
AALS-159 |
|
6.4 |
4.4 |
7.2 |
9.7 |
2.8 |
9 |
9 |
8 |
30 |
AALS-214 |
|
|
8.2 |
4.4 |
7.2 |
12.7 |
1.2 |
9 |
9 |
8 |
30 |
AALS-215 |
|
|
16 |
6.4 |
5.4 |
8.3 |
11.7 |
2.7 |
13 |
11 |
9 |
37 |
AALS-252 |
|
8.2 |
5.4 |
8.3 |
11.7 |
2.7 |
13 |
11 |
9 |
37 |
AALS-216 |
|
|
10.2 |
5.4 |
8.3 |
18.0 |
1.8 |
13 |
11 |
9 |
37 |
AALS-217 |
|
|
25 |
6.4 |
7.0 |
9.7 |
13.7 |
2.7 |
16 |
11 |
10 |
44 |
AALS-253 |
|
8.2 |
7.0 |
9.7 |
13.7 |
2.7 |
16 |
11 |
10 |
44 |
AALS-218 |
|
|
10.2 |
7.0 |
9.7 |
14.0 |
2.3 |
16 |
11 |
10 |
44 |
AALS-219 |
|
|
12.7 |
7.0 |
9.7 |
20.0 |
1.7 |
16 |
12 |
11 |
47 |
AALS-220 |
|
|
35 |
6.4 |
8.0 |
10.8 |
15.4 |
2.8 |
18 |
11 |
11 |
47 |
AALS-254 |
|
8.2 |
8.0 |
10.8 |
15.4 |
2.8 |
18 |
11 |
11 |
47 |
AALS-221 |
|
|
10.2 |
8.0 |
10.8 |
15.4 |
2.8 |
18 |
11 |
11 |
47 |
AALS-222 |
|
|
50 |
8.2 |
9.3 |
13.0 |
18.3 |
3.7 |
22 |
13 |
11 |
54 |
AALS-255 |
|
10.2 |
9.3 |
13.0 |
18.3 |
3.7 |
22 |
13 |
11 |
54 |
AALS-312 |
|
|
12.7 |
9.3 |
13.0 |
23.0 |
2.8 |
22 |
13 |
12 |
54 |
AALS-224 |
|
|
70 |
8.2 |
11.3 |
15.5 |
21.8 |
4.4 |
26 |
13 |
13 |
60 |
AALS-256 |
|
10.2 |
11.3 |
15.5 |
21.8 |
4.4 |
26 |
13 |
13 |
60 |
AALS-225 |
|
|
12.7 |
11.3 |
15.5 |
21.8 |
4.4 |
26 |
13 |
13 |
60 |
AALS-226 |
|
|
95
|
10.2 |
13.3 |
17.4 |
24.8 |
4.2 |
28 |
14 |
14 |
64 |
AALS-227 |
|
12.7 |
13.3 |
17.4 |
24.8 |
4.2 |
28 |
14 |
14 |
64 |
AALS-228 |
|
|
16.2 |
13.3 |
17.4 |
24.8 |
4.2 |
28 |
14 |
14 |
64 |
AALS-229 |
|
|
120 |
10.2 |
14.7 |
19.6 |
28.0 |
4.6 |
32 |
15 |
15 |
73 |
AALS-257 |
|
12.7 |
14.7 |
19.6 |
28.0 |
4.6 |
32 |
15 |
15 |
73 |
AALS-230 |
|
|
16.2 |
14.7 |
19.6 |
28.0 |
4.6 |
32 |
15 |
15 |
73 |
AALS-231 |
|
|
150 |
10.2 |
16.4 |
21.5 |
30.8 |
5.0 |
34 |
17 |
17 |
79 |
AALS-258 |
|
12.7 |
16.4 |
21.5 |
30.8 |
5.0 |
34 |
17 |
17 |
79 |
AALS-232 |
|
|
16.2 |
16.4 |
21.5 |
30.8 |
5.0 |
34 |
17 |
17 |
79 |
AALS-233 |
|
|
185 |
10.2 |
18.4 |
24.0 |
34.5 |
5.5 |
36 |
18 |
18 |
84 |
AALS-311 |
|
12.7 |
18.4 |
24.0 |
34.5 |
5.5 |
36 |
18 |
18 |
84 |
AALS-234 |
|
|
16.2 |
18.4 |
24.0 |
34.5 |
5.5 |
36 |
18 |
18 |
84 |
AALS-235 |
|
|
225 |
12.7 |
21.0 |
27.0 |
39.8 |
6.0 |
40 |
20 |
20 |
94 |
AALS-320 |
|
240 |
12.7 |
21.0 |
28.0 |
40.0 |
6.6 |
44 |
22 |
22 |
102 |
AALS-236 |
|
16.2 |
21.0 |
28.0 |
40.0 |
6.6 |
44 |
22 |
22 |
102 |
AALS-237 |
|
|
300 |
16.2 |
23.8 |
31.0 |
45.0 |
7.0 |
47 |
27 |
27 |
115 |
AALS-300 |
|
20.3 |
23.8 |
31.0 |
45.0 |
7.0 |
47 |
27 |
27 |
115 |
AALS-259 |
|
|
400 |
20.3 |
26.8 |
35.5 |
50.8 |
8.5 |
56 |
31 |
30 |
130 |
AALS-260 |
|
500 |
20.3 |
29.9 |
41.0 |
58.8 |
10.0 |
60 |
33 |
32 |
140 |
AALS-296 |
|
630 |
20.3 |
34.9 |
46.0 |
65.8 |
10.0 |
59 |
35 |
34 |
154 |
AALS-261 |
|
800 |
BLK |
39.0 |
51.0 |
73.3 |
12.0 |
77 |
39 |
39 |
180 |
AALS-318 |
|
1000 |
BLK |
43.5 |
57.0 |
81.5 |
13.5 |
100 |
45 |
45 |
220 |
AALS-319 |
Copyrights © 2018 by Ascon Engineering Industries, All Rights Reserved. Designed & Developed by Phoenix Creation.